Ototeknikveri 08 Mart 2022 04:10
Bunun, otomotiv endüstrisinde benzerlerini gördüğümüz, üzerine park edildiğinde çalışmaya başlayan bir şarj pedine benzemediğine dikkat etmek gerek. Bu tür şarj cihazları, çoğumuzun mobil cihazlarda kullandığı kablosuz şarj cihazlarından çok farklı değil. Bunu yaptıysanız, cihazların fiziksel bir kabloya bağlı olduklarından çok daha yavaş şarj olduğunu da bilirsiniz.
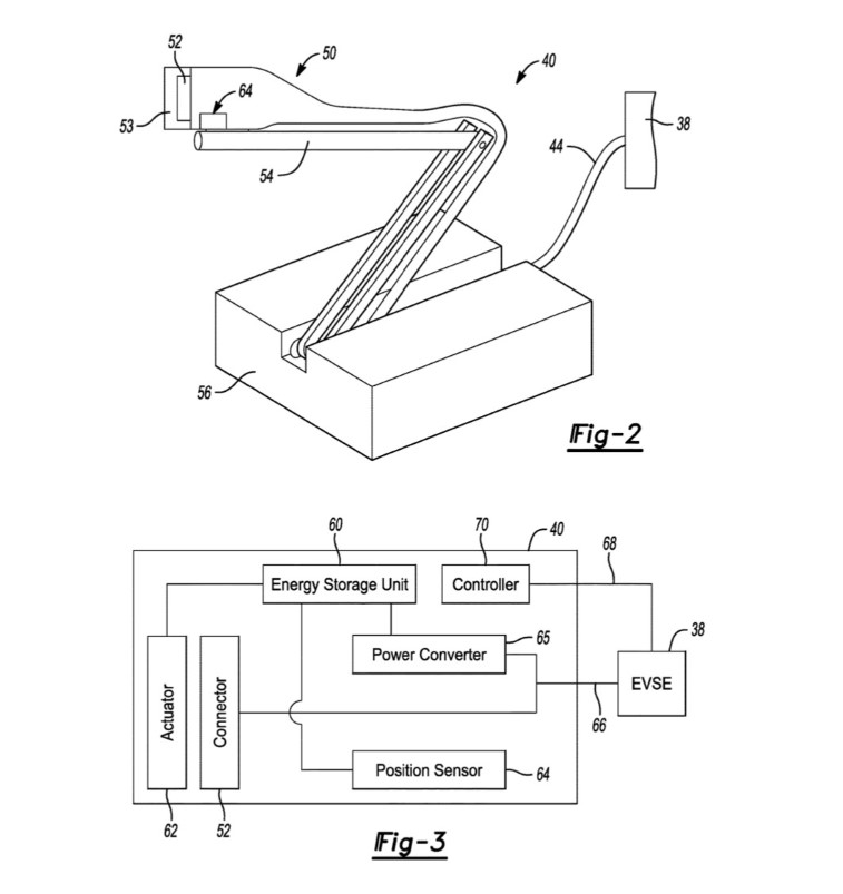
Bu patentin, fabrika şarj bağlantı noktasını kullanmaya devam edecek ve oldukça geleneksel bir şarj cihazı gibi görünen bir cihaza odaklanmasının nedeni bu olabilir.
Bu, Tesla'nın yıllar önce ipucunu verdiği otonom robotik şarja ilginç bir şekilde benziyor. Tabii ki, bu hiçbir zaman gerçek bir ürün olmadı, bu nedenle bu teknolojinin üretim versiyonunun nasıl görünebileceğine dair net bir fikrimiz yok.

20220063430 no'lu patent başvurusunda yer alan birkaç rakam, normalde kompakt bir konumdan katlanabileceği fikri dışında bize fazla bir şey vermiyor. Araba bir garaja veya bir istasyona park edilebiliyorsa ve esasen kendisini şarj kaynağına bağlayabiliyorsa, bu kesinlikle sürücüler için şarjı biraz daha kolaylaştıracaktır.
Elektrikli araçlar yaygınlaştıkça üreticilerin ve altyapı işinde olanların şarj çözümleri üzerinde çalıştığını da biliyoruz. Michigan, yerleşik kablosuz şarj özelliği ile yeni bir Endüktif Araç Şarj Pilotu programına yeşil ışık yaktı. Indiana da benzer bir program üzerinde çalışırken, Volvo İsveç'te kablosuz elektrikli otomobil şarjını test ediyor.



Son Güncelleme : 08 Mart 2022